Sony AI patent will see PlayStation games play themselves when players are stuck
AI-Generated Ghost Player assistance would help out players who can’t progress in a game

Sony has patented a new technology that would see PlayStation games play themselves with the help of AI.
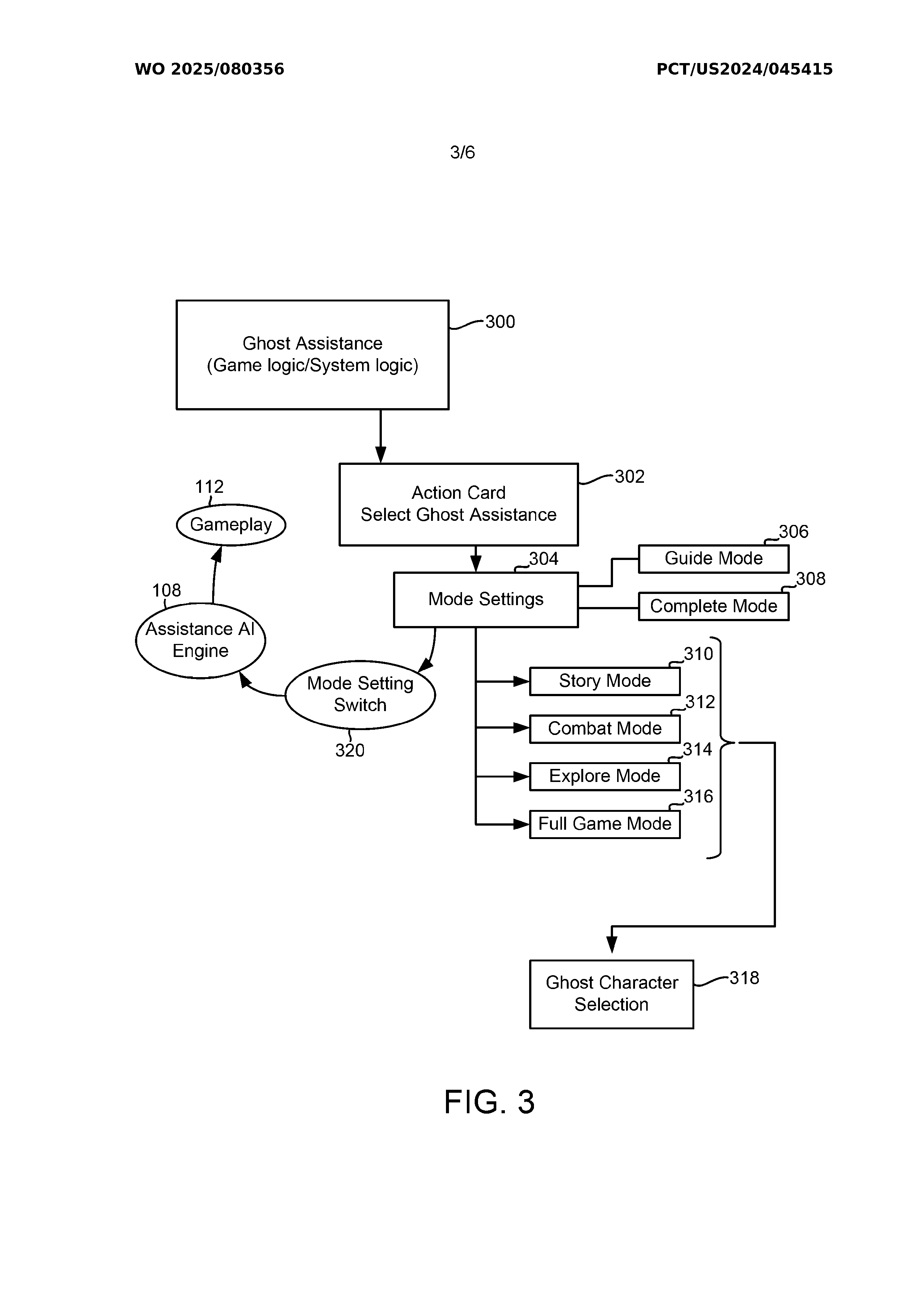
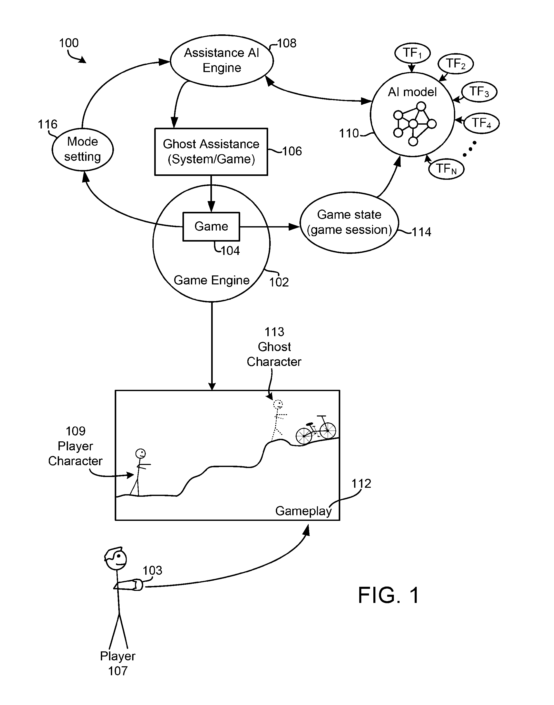
As described in patent documents, ‘Ghost Player’ would see players call down an AI-generated “ghost” version of the player character, which could either play out the solution to a particular part of the level, or complete it entirely.
The patent was originally filed in September 2024, but the World Intellectual Property Organization published an international status report on the patent this week.
For example, if a player were stuck on a puzzle in an Uncharted game, the “Guide Mode” would seemingly present an AI-controlled Nathan Drake demonstrating the solution, before the player did it themselves. The “Complete Mode” would simply complete the section for the player.
Modes in games that assist with puzzles and combat challenges are common. Many games will allow players to skip encounters or lower the difficulty if they find them too challenging, and puzzle games often include a hint system for those who are completely stuck.
However, some modern Sony titles, such as God of War Ragnarok, have been criticized for giving the player too much assistance with puzzles, due to NPC companions loudly hinting at the solution to puzzles as soon as they begin.

It is claimed that the AI model would be trained on existing footage of the game, instead of being a pre-recorded series of inputs set by a developer.
The AI-generated Ghost Player system appears to be an evolution of the PS5 Game Help system, which was launched alongside the PlayStation 5. When supported, PS5 Game Help could provide players with guidance, via images or video, via the PS5 card system, which can be called up in-game.
While not used widely, the system has been praised by PlayStation fans who enjoy hunting trophies, due to the convenience of not having to call up a separate guide on another screen, such as a phone. 
It is worth noting that there is no evidence that Sony has plans to use this technology in future hardware, and that patents like this have been filed by the firm, and many others, for years without any intention for use.
AI-powered in-game assistants are becoming more common across all technology. Last year, Microsoft introduced Copilot for Gaming, which it called an “AI-driven sidekick” that was “designed to be your personalised gaming companion”.
The system was pitched as a coaching tool for players who are less experienced with video games. One example shown at the time was a Minecraft player asking Copilot for Gaming what they could do with wood.
Another example shows the player on the Xbox mobile app, asking the AI: “I want to get back into Age of Empires IV, can you install it?” The AI then installs the game for the player, and offers to give a recap of what happened the last time they played the game.”














